菜单 业务合作
官方客服
  • 官方客服:2047879076一键联系
  • 站长电报(飞机)
    客服QQ

YM48-PHP仿HTX加密货期交易所源码pc端手机端可打包app

仿HTX加密货期交易所源码pc端手机端可打包app

http://xxxx.com/fox/  admin   123456

 

手机端截图:

pc端

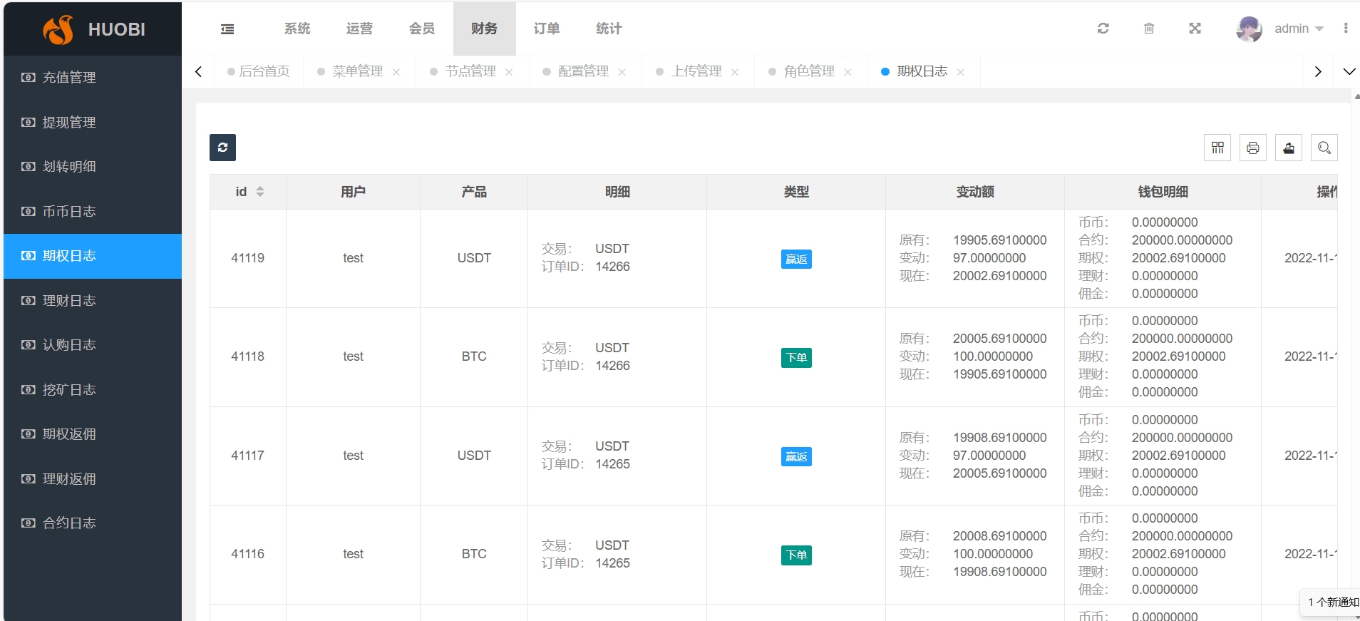
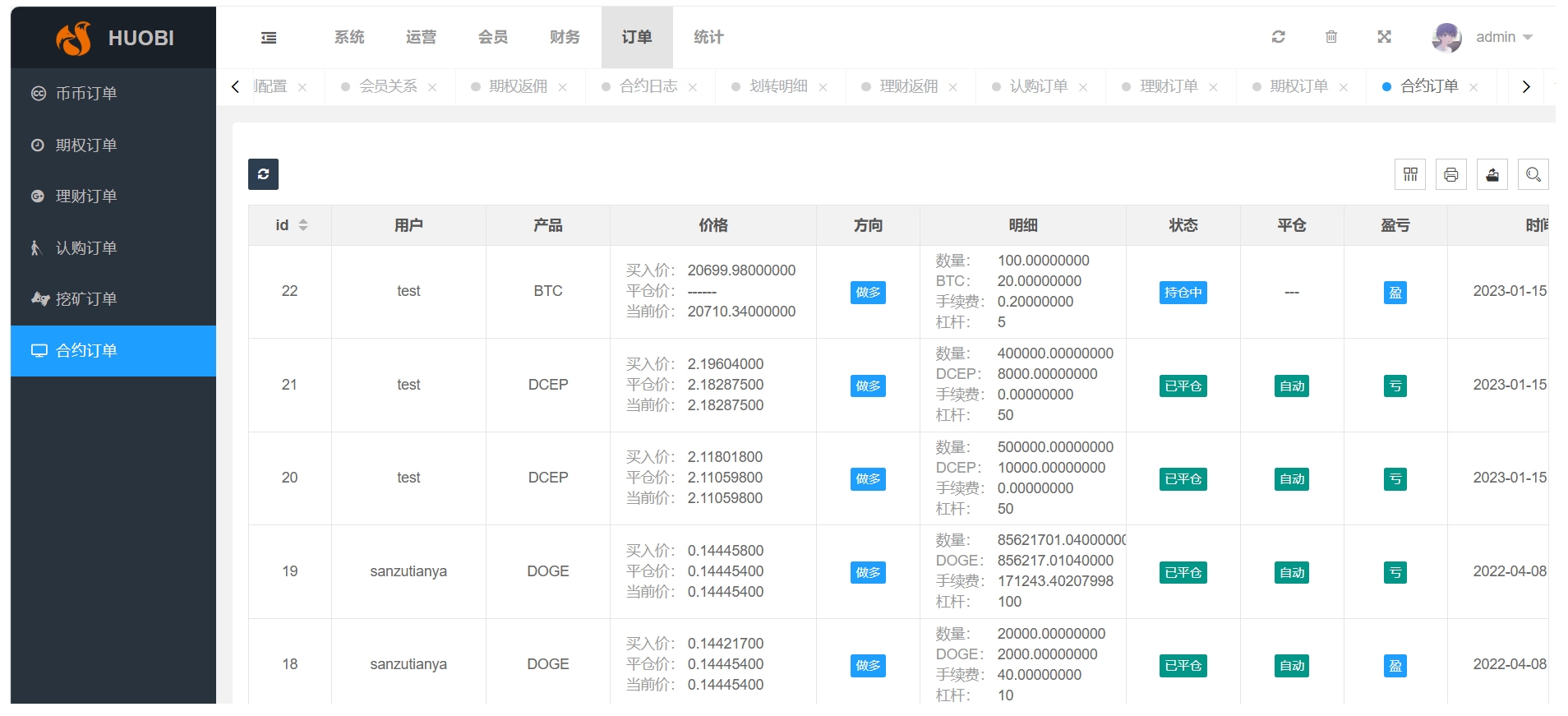
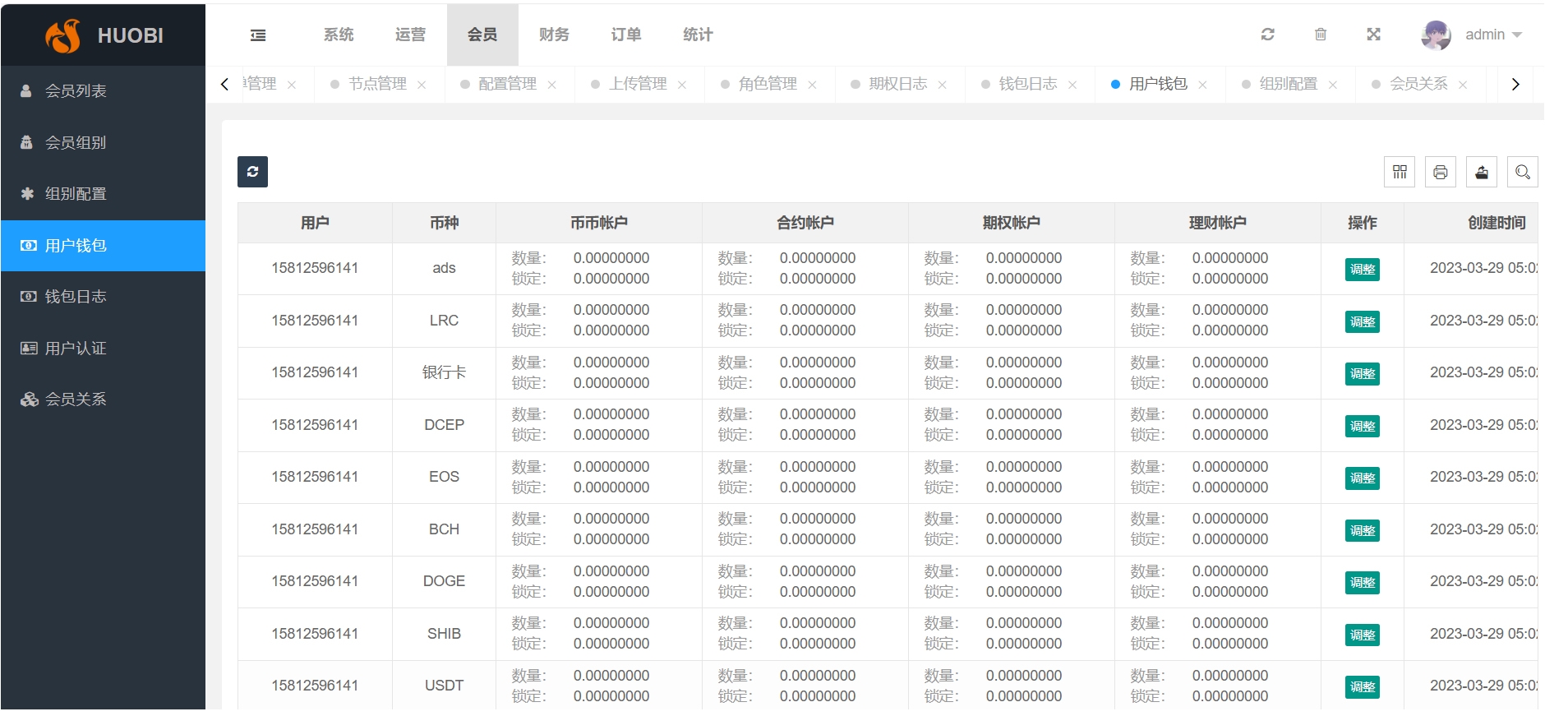
管理端:

暂无优惠

已有0人支付

RIPRO主题是一个优秀的主题,极致后台体验,无插件,集成会员系统
521博客源码 » YM48-PHP仿HTX加密货期交易所源码pc端手机端可打包app

发表回复